
2026年3月12日,西安穹顶医疗科技有限公司(简称“穹顶科技”)宣布完成近亿元人民币A+轮融资。本轮融资由明熙资本领投,光谷产投跟投,老股东顺为资本、华方资本、讯飞创投、元禾原点继续参与投资,行远致同担任独家财务顾问。
根据公开信息,本轮资金将主要用于:
产品迭代与技术研发
推进临床研究及医疗器械注册申报
拓展商业化布局
# 公司介绍
西安穹顶医疗科技有限公司成立于2021年,总部位于陕西省西安市。
公司主要从事脑机接口及神经调控医疗技术研发,重点布局无创神经调控设备及相关技术平台,面向神经系统疾病等医疗应用场景。
企业核心方向包括:
无创深脑神经调控技术
脑机接口相关设备研发
神经调控设备临床转化
# 产品与技术简介
根据企业公开信息,穹顶科技的技术方向主要围绕无创深脑神经调控技术展开。
公司重点研发基于时间干涉技术(Temporal Interference,TI)的神经调控系统,用于实现对深部脑区的非侵入式刺激与调节。
相关技术与产品主要应用于:
神经系统疾病研究
神经调控治疗场景
脑科学研究及临床探索
在技术路径上,公司提出将TI技术与聚焦超声等刺激方式结合,形成多模态神经调控方案。
公开资料显示,公司推出的设备包括聚焦超声神经刺激系统等神经调控设备,用于支持神经科学研究及潜在临床应用场景。
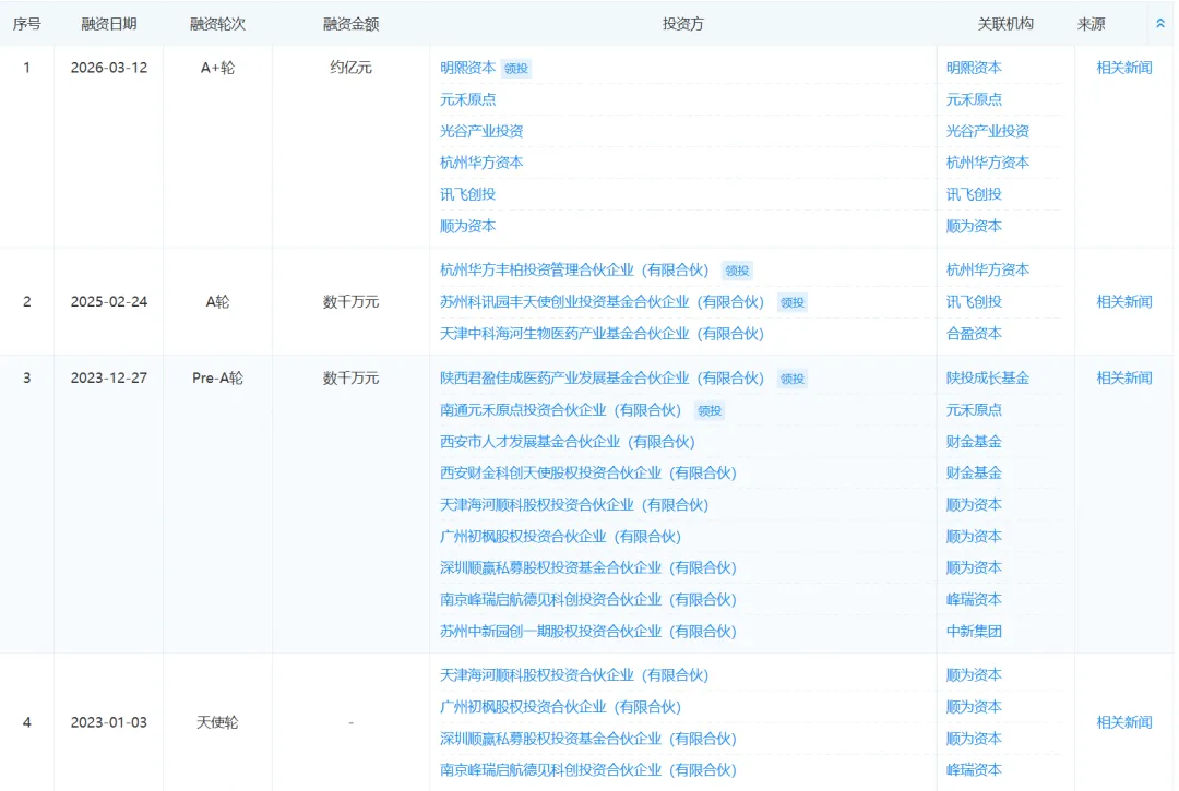
# 融资历程
据神经未来查询企查查网站,该公司融资历程如下表:

# 专利情况
据神经未来查询企查查网站,该公司专利如下表:


