
共聚大湾区,投资在路上
感兴趣可以添加小编微信交流合作,实名制介绍可以进群交流,参见文章最后面信息。
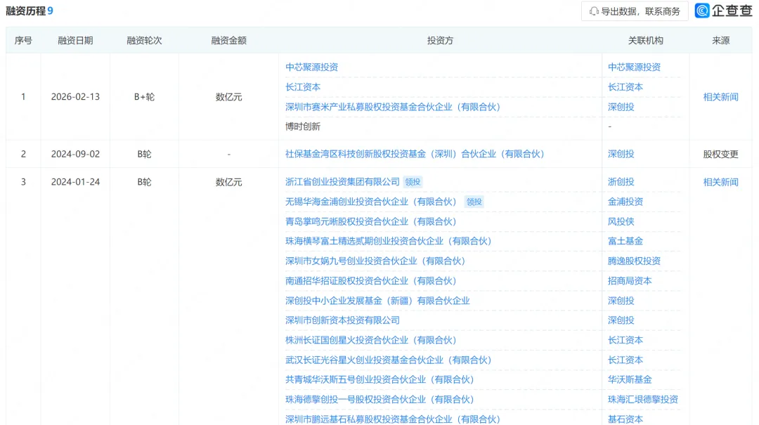
近日,半导体晶圆制造前道量测设备研发商深圳市埃芯半导体科技有限公司(以下简称“埃芯半导体”)顺利完成B+轮融资首批交割。本轮融资公司将获得数亿元资金注入,汇集重要产业资本、国有资本平台、知名投资机构及现有股东持续加持。首批交割由深圳市半导体与集成电路产业投资基金(简称“赛米基金”)、中芯聚源、博时创新、长江资本联合参与。本轮融资将为公司关键技术持续突破和新一代产品研发提供有力支撑,助力公司持续完善供应链与交付体系建设,全面提升产品规模化交付能力及客户服务能力,为公司规模化发展奠定更加坚实的基础。
1、埃芯半导体
深圳市埃芯半导体科技有限公司成立于成立于2020年10月,位于深圳市龙华区,提供高端半导体制造前道晶圆量测产品及解决方案,有光学晶圆量测和X射线晶圆量测两个产品线。公司产品涵盖薄膜量测、关键尺寸量测、材料量测、套刻精度量测等系列产品及解决方案。产品规格匹配国际尖端水准,支持先进逻辑工艺、先进DRAM工艺及先进3D NAND量测。目前产品已服务于国内一线晶圆制造厂商,实现规模量产。
公司总部位于深圳,拥有7300平米的研发及生产基地,在上海、武汉、北京、合肥设有分公司和办公室,核心团队来自全球半导体行业顶尖技术专家及全球科研机构资深研究人员。埃芯注重底层技术创新,光学及X射线量测核心技术自主研发,拥有自主知识产权的软件平台及核心算法,致力于关键部件自研或国产化,保障供应链安全。
2、公司产品线
公司两个产品线包括光学量测产品系列、X射线量测产品系列。光学量测产品系列涉及光学薄膜量测设备、光学关键尺寸量测设备、光学衍射套刻量测设备、光学集成量测设备。X射线量测产品系列包括X射线薄膜量测设备、X射线衍射量测设备、X射线轻元素及薄膜量测设备、X射线光电子能谱量测设备。


3、融资过程
根据企查查显示,埃芯半导体已经完成9轮融资,吸引了英诺天使、深创投、协同创新、基石资本、长江资本、招商局资本、风投侠、金浦投资、浙创投等众多投资机构。

本文参考:
1、DoNews:埃芯半导体完成B+轮首批融资;
2、埃芯半导体官网;
3、企查查数据库;
4、烯牛数据库;
全文完,感谢耐心阅读,欢迎顺手点个“在看”,欢迎添加本微信公众号,方便及时获得公众号研究文章。
大湾区资本圈致力于传播大湾区专精特新、上市公司、资本市场、投资圈等资讯,聚集大湾区,投资在路上
