
2026年3月16日,杭州神络医疗科技有限公司宣布完成数亿元人民币C轮融资。
本轮融资由君联资本领投,老股东奥博资本(OrbiMed)、博远资本、国投创合跟投。
根据公开信息,本轮资金将主要用于:
超微型神经调控技术平台研发
脑机接口技术平台研发
产品技术迭代
海外商业化推进
# 公司介绍
杭州神络医疗科技有限公司是一家从事神经调控及脑机接口相关医疗器械研发的企业,总部位于浙江省杭州市。
公司主要从事神经调控设备及相关技术平台的研发与产业化,重点布局植入式神经刺激设备及脑机接口技术。
企业业务方向主要包括:
神经调控医疗设备研发
植入式神经刺激系统开发
脑机接口技术研发
# 产品与技术简介
根据企业公开信息,神络医疗主要围绕植入式神经调控系统及脑机接口技术开展产品研发。
1. 脊髓神经刺激(SCS)系统
用于慢性疼痛管理相关治疗场景。企业公开信息显示,该系统已于2026年初获得国家药品监督管理局(NMPA)批准上市。
2. 外周神经刺激(PNS)系统
用于外周神经调控相关治疗场景,目前产品处于注册申报阶段。
3. 胫神经刺激(TNS)系统
用于泌尿功能相关疾病的神经调控治疗。该产品属于公司无线超微型神经调控技术平台的一部分。
4. 脑机接口技术
公司正在开发闭环脑机接口系统,用于神经功能恢复相关应用场景,包括脊髓损伤等神经系统疾病。
此外,公司还在研发舌下神经刺激系统,用于阻塞性睡眠呼吸暂停相关治疗场景。
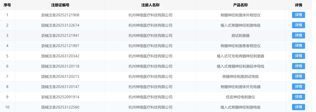
# 产品注册证情况
据神经未来查询国家药监局网站,该公司获批的医疗器械注册证如下表:

# 融资历程
据神经未来查询企查查网站,该公司融资历程如下表:

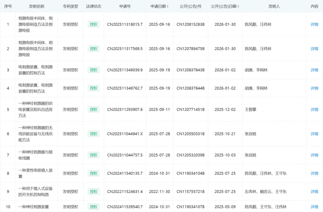
# 专利情况
据神经未来查询企查查网站,该公司专利如下表:


