
2026年3月10日,中科搏锐(北京)科技有限公司宣布完成数千万元人民币B轮融资。本轮融资由三泽创投投资,凯乘资本担任长期独家财务顾问。
公司表示,本轮资金将主要用于推进脑机接口相关医疗器械产品研发、推动技术临床转化,并支持公司在脑功能监护及脑功能成像领域的产业化布局。
# 公司介绍
中科搏锐(北京)科技有限公司成立于2017年,总部位于北京市。
公司为一家医疗器械企业,主要从事脑机接口相关医疗设备的研发、生产与销售。企业孵化于中国科学院自动化研究所,业务方向集中在脑功能监测、脑功能成像以及神经系统相关医疗设备领域。
公司产品主要面向神经外科、麻醉科、重症医学科及卒中中心等临床科室。
# 产品与技术简介
根据企业公开信息,公司产品主要围绕脑功能监测和脑功能成像相关医疗设备展开,包括以下方向:
脑氧监护设备用于监测脑组织氧代谢相关指标,应用于重症监护、围术期监测等场景。
脑功能成像设备结合脑电与近红外光学技术,用于脑功能评估及神经外科手术辅助。
脑机接口相关监测设备用于神经系统疾病监测、康复评估及脑功能研究。
相关产品应用场景主要包括:
神经外科手术监测
卒中患者围术期监护
重症患者脑功能监测
神经康复评估
技术方向涉及脑电信号采集、近红外脑功能成像以及多模态脑功能监测技术。
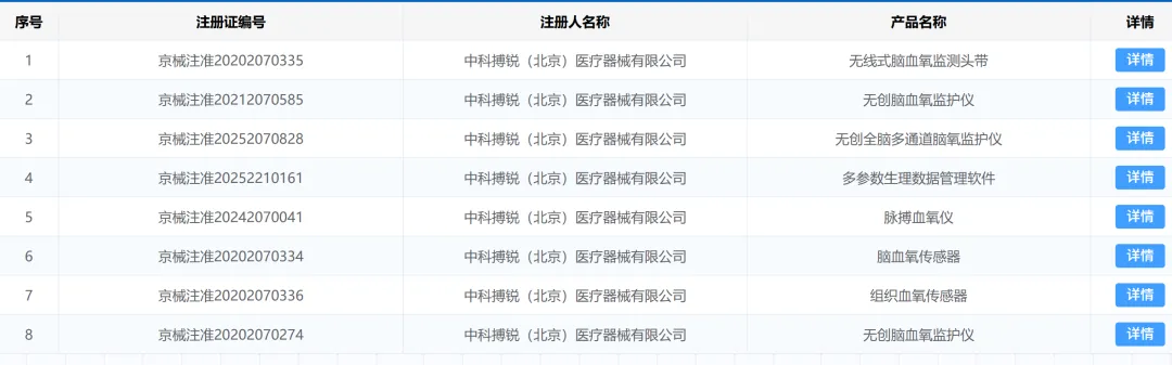
# 产品注册证情况
据神经未来查询国家药监局网站,该公司获批的医疗器械注册证如下表:

# 融资历程
据神经未来查询企查查网站,该公司融资历程如下表:

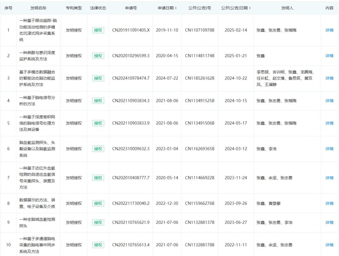
# 专利情况
据神经未来查询企查查网站,该公司专利如下表:


