
经济导报记者 贾义航
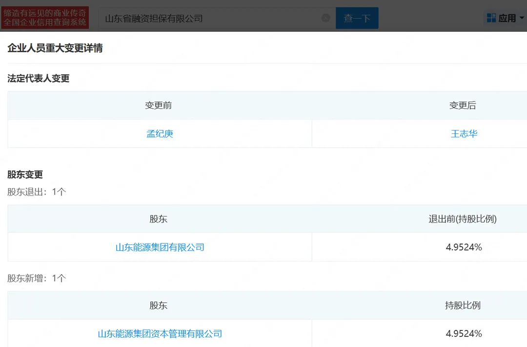
企查查显示,日前,山东能源集团有限公司(下称“山东能源集团”)退出山东省融资担保有限公司(下称“山东融担”),退出前持股比例为4.95%。该部分股权由山东能源集团旗下全资子公司山东能源集团资本管理有限公司(下称“山能资本”)“接手”。

山东融担成立于2000年,注册地位于济南市,注册资本2.04亿元,属省直融资担保公司。其主营贷款担保、履约担保等业务,开发“鲁担投标保”“供应链票据+担保增信”等产品,并参与山东省政府性融资担保体系的比例分险模式。
从股权结构看,山东省投融资担保集团有限公司、菏泽财金投资集团有限公司、济南市发展和改革委员会物业管理中心、青岛融资担保中心有限公司分别持有山东融担29.48%、19.81%、9.90%、6.14%的股份,山东融担剩余股份由山能资本等8名股东持有。
在股权变更的同时,山东融担主要成员亦同步变更。具体而言,公司董事长、总经理孟纪庚,董事宋振国、金裕亮,监事董法重、陆建明、许梦溪退出;王志华接任董事长、经理,王学军、鹿崇海、岳孝忠新任公司董事;法定代表人也由孟纪庚变更为王志华。
山东能源集团成立于1996年3月,注册资本302亿元,法定代表人为李伟,以矿业、高端化工、电力、新能源新材料、高端装备制造为主导产业。官网资料显示,集团是山东省能源行业的国有资本投资公司、我国能源行业的重要骨干企业,承担着保障能源安全、优化能源布局、优化能源结构的主体责任。

山东能源集团拥有从业人员19.95万人,权属企业608家,其中8家上市公司、5家新三板挂牌公司,分布在国内22个省(区)、境外17个国家(地区)。2024年集团完成营业收入8560亿元,居中国煤炭50强第1位、中国企业500强第23位、世界500强第75位,获得中国工业大奖、国有企业公司治理示范企业、国家技术创新示范企业、全国文明单位、山东省社会责任企业等荣誉。



