
2026年1月
企业融资概况
生物医药
医疗器械
医药服务
据不完全统计,2026年1月全国生物医药企业融资事件40起,过亿元融资的企业有23家,总金额估计达80亿人民币以上。

从融资金额看,济煜医药表现突出,其A轮融资金额约20亿元,为同期最高;瑞博生物IPO募资18.32亿港元,原启生物C轮融资7000万美元,均位居前列。
从融资轮次分布来看,本月融资事件中A轮最为活跃,共发生14起;天使轮和Pre-A轮次之,各8起;B轮6起;C轮3起;IPO轮1起。
从地域分布来看,长三角、珠三角、京津冀三大区域融资活跃度领先,其中江苏有12家企业获得融资,广东8家,上海7家,北京6家,浙江2家,天津1家,这九地合计占比高达90%;其他区域融资相对较少,山东2家,河南、四川各1家。
从细分赛道来看,本次融资覆盖领域广泛,主要涉及再生医学、创新药物研发、创新医疗器械等方向。

药物领域
干细胞治疗
1、意胜生物
1月1日,北京意胜生物科技有限公司完成超亿元Pre-A轮融资。

意胜生物成立于2021年8月,聚焦干细胞与再生医学前沿,首条管线ESN5800依托高效、安全的异体iPSC/ESC干细胞分化技术,制备功能成熟的胰岛细胞/细胞团。
2、血霁生物
1月1日,苏州血霁生物科技有限公司完成4000万元B+轮融资。

血霁生物成立于2021年6月,专注于体外再生造血世系(包括血液细胞和免疫细胞),以血小板的体外再生作为做优先和核心发展的方向,切入成体干细胞和iPSCs细胞定向分化的细胞治疗领域。
3、动力微官
1月4日,动力微官(上海)生物科技有限公司完成数千万元天使轮融资。

动力微官成立于2025年9月,聚焦“干细胞+工程支架”,专注于iPSC技术在组织再生和临床治疗领域的应用,致力于开发基于3D生物支架的功能性“微器官”产品,用于重大疾病的再生医学治疗。
4、慧心医谷
1月7日,北京慧心医谷生物科技有限责任公司完成超亿元A轮融资。

慧心医谷成立于2021年7月,专注于神经系统疾病细胞治疗药物研发,首个在研管线诱导神经干细胞(iNSCs)来源的多巴胺能神经前体细胞(iNSC-DAP)注射液,用于帕金森病的治疗。
5、士泽生物
1月14日,士泽生物医药(苏州/上海)有限公司完成4亿元C轮融资。

士泽生物成立于2021年3月,已获得中国NMPA和美国FDA正式批准的七项中美注册临床试验批件,多款通用型iPSC衍生神经细胞新药已处于中美注册临床试验阶段。
6、国科明耀
1月19日,国科明耀(山东)医学科技有限公司完成天使轮融资。

国科明耀成立于2024年2月,以干细胞与免疫细胞技术为核心,已掌握宠物间充质干细胞、自然杀伤细胞等多项自主知识产权制备工艺。
基因治疗/基因编辑
1、星奥拓维
1月1日,苏州星奥拓维生物技术有限公司完成近亿元A轮融资。

星奥拓维成立于2022年1月,专注于内耳听力损伤等相关疾病,开发基因递送、基因编辑和内耳毛细胞再生药物。
2、安龙生物
1月7日,北京安龙生物医药有限公司完成超亿元B+轮融资。

安龙生物成立于于2019年8月,主要以基因治疗、基因编辑、DNA及RNA等其它遗传物质做为新药研发的方向。
3、奥纳再生医学
1月29日,珠海横琴奥纳再生医学有限公司完成数千万元天使轮融资。

奥纳再生医学成立于2024年7月,专注于器官移植领域,拥有基因组编辑小型猪异种移植产业化平台。
免疫疗法
1、原启生物
1月12日,原启生物科技(上海)有限责任公司完成7000万美元C轮融资。

原启生物成立于2015年2月,其核心管线Ori-C101是一款靶向GPC3用于治疗晚期肝细胞癌(HCC)的自体CAR-T药物,已完成一期研究者发起临床研究及注册临床I期试验。
2、基因启明
1月22日,北京基因启明生物科技有限公司完成1亿元天使轮融资。

基因启明成立于2015年12月,主要开发iNKT细胞系列管线产品。
3、新景智源
1月26日,新景智源生物科技(苏州)有限公司完成逾2亿元B轮融资。

新景智源成立于2020年9月,专注于实体肿瘤TCR-T免疫细胞治疗药物研发。
类器官技术
1、希格生科
1月14日,希格生科(深圳)有限公司完成8000万元A轮融资。

希格生科成立于2020年12月,以“类器官+AI”新药研发平台为核心,其核心管线SIGX1094是全球首款弥漫性胃癌靶向药,计划利用融资金额推进全球II期临床试验,第二条管线SIGX2649计划进行IND申报与I期临床试验。
2、万何圆生物
1月22日,上海万何圆生物科技有限公司完成数千万元A轮融资。

万何圆生物成立于2020年5月,致力于打造“类器官+”的精准医疗平台、新药研发及转化医学平台。截至目前,已累计成功构建30余癌种的类器官培养及药敏检测体系。
疫苗
1、磐如生物
1月10日,磐如生物科技(天津)有限公司完成数千万元天使轮融资。

磐如生物成立于2022年3月,聚焦前列腺癌领域,致力于开发包括mRNA疫苗、多肽疫苗及新型基因编辑技术疗法在内的下一代免疫治疗产品。
小分子药物
1、济煜医药
1月8日,上海济煜医药科技股份有限公司完成约20亿元A轮融资。

济煜医药成立于2018年6月,专注于创新药物的研发。
2、赜灵生物
1月12日,成都赜灵生物医药科技股份有限公司完成近6亿元C轮融资。
赜灵生物成立于2019年4月,致力于肿瘤、自身免疫性疾病、新型冠状病毒性肺炎引起的细胞因子风暴等创新药物研发。
3、新樾生物
1月21日,深圳市新樾生物科技有限公司完成数千万元A++轮融资。

新樾生物成立于2021年4月,专注于小分子创新药研发 。
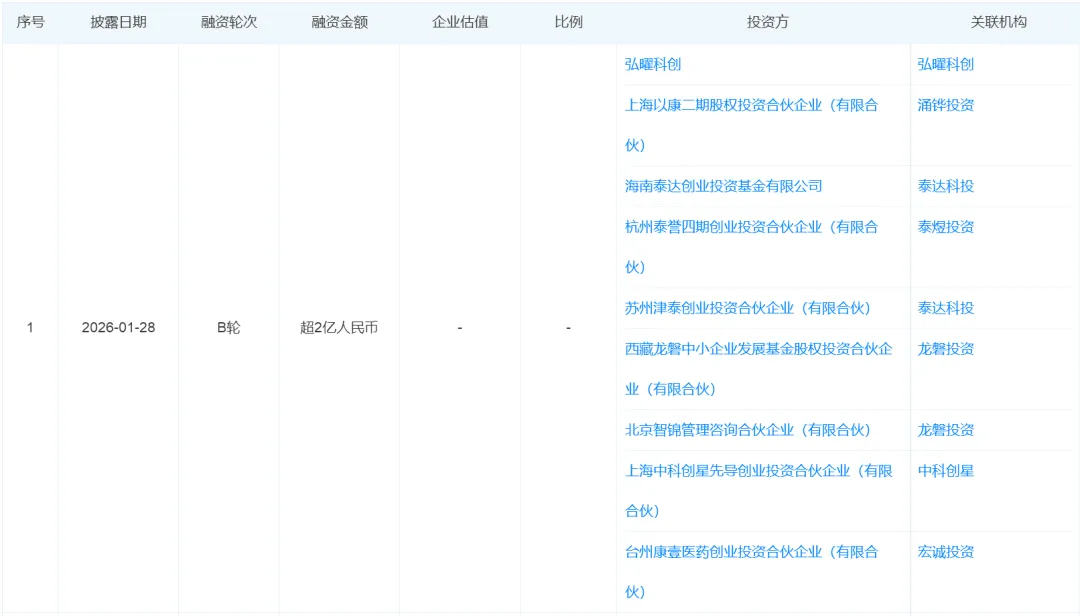
4、弼领生物
1月28日,上海弼领生物技术有限公司完成超2亿元B轮融资。

弼领生物成立于2021年5月,深耕新型纳米偶联药物及精准纳米递送技术研发。
5、纽欧申医药
1月29日,纽欧申医药(上海)有限公司完成数千万美元A+轮融资。

纽欧申医药成立于2021年10月,专注于开发治疗中枢神经系统疾病(包括精神障碍、神经退行性疾病等)的突破性疗法。
6、思璞锐
1月30日,上海思璞锐医药科技有限公司完成5300万美元B轮融资。

思璞锐成立于2024年9月,是一家专注于小分子抗肿瘤药物迭代创新的研发型生物技术公司。
大分子药物
1、百懿药业
1月13日,杭州百懿生物药业有限公司完成近亿元Pre-A轮融资。

百懿药业成立于2021年5月,专注于神经系统疾病创新药物的研发,已推进多个大分子候选药物进入临床前研究和IND申报阶段。
核酸药物
1、瑞博生物
1月9日,苏州瑞博生物技术股份有限公司完成18.32亿港元IPO融资。

瑞博生物成立于2007年1月,专注于RNA干扰(RNAi)技术开发及小核酸药物产业化。
合成生物学
1、华赛生物
1月2日,苏州华赛生物工程技术有限公司完成近亿元A轮融资。

华赛生物成立于2014年9月,是一家合成生物产品供应商。
2、微元合成
1月4日,微元合成生物技术(北京)有限公司完成近3亿元A+轮融资。

微元合成成立于2021年12月,是一家以合成生物技术为基础的生物制造公司。
3、中源裕泽
1月6日,河南中源裕泽生物科技有限公司完成近亿元天使轮融资。

中源裕泽成立于2023年12月,深耕于合成生物学领域。
医疗器械领域
医疗器械
1、长臂猿医疗
1月1日,长臂猿医疗科技(无锡)有限公司完成数千万元天使轮融资。

长臂猿医疗成立于2024年7月,致力于构建新一代全球较好的显微手术服务平台。
2、朗目医疗
1月5日,苏州朗目医疗科技有限公司完成近亿元A轮融资。
朗目医疗成立于2020年10月,专注于眼科微创精准治疗的创新型医疗器械研发。
3、集视医疗
1月5日,浙江布瑞利斯科技有限公司完成Pre-A+轮融资。

集视医疗成立于2022年7月,是一家脑科学机制研究驱动的眼科诊疗平台。
4、布瑞利斯
1月6日,浙江布瑞利斯科技有限公司完成数千万元Pre-A轮融资。

布瑞利斯成立于2025年9月,专注于流动化学、连续光化学装置研发、工艺开发及技术服务。
5、悦唯医疗
1月12日,北京悦唯医疗科技有限责任公司完成近亿元B轮融资。

悦唯医疗创立于2021年9月,专注于心脏外科及心衰领域器械研发。
6、赛纳思
1月16日,苏州赛纳思医疗技术有限公司完成超亿元A轮融资。

赛纳思医疗成立于2017年3月,专注于高端微创介入医疗器械研发。
7、星赛生物
1月19日,青岛星赛生物科技有限公司完成近亿元A++轮融资。

星赛生物成立于2024年1月,专注于高端生命科学仪器及单细胞分析技术。
8、益腾医疗
1月30日,昆山益腾医疗科技有限公司完成近亿元A轮融资。

益腾医疗成立于2021年9月,是一家医疗器械生产商,主要产品包括医用CT球管、工业CT微焦点X射线管。
医疗设备
1、利德健康
1月5日,利德健康科技(广州)有限公司完成数千万元Pre-A轮融资。

利德健康成立于2023年10月,专注于AI+生命科学仪器和生物智造装备研发。
2、清风生化
1月16日,清风生化科技(广州)有限公司完成数千万元Pre-A轮融资。

清风生化成立于2018年9月,专注于生命科学自动化领域的设备、自动化平台及配套功能模块和耗材的研发。
3、哈维医疗
1月23日,深圳哈维生物医疗科技有限公司完成数千万元Pre-A轮融资。

哈维医疗创立于2019年9月,是呼吸生理和急危重症医疗设备研发制造企业。
4、微睿科技
1月23日,微睿科技(苏州)有限公司完成近亿元A轮融资。

微睿科技成立于2021年9月,专注于医疗影像设备(CT、DR、DSA等)的核心部件——X射线球管的研发。
医药服务领域
方案提供商
1、一元长寿
1月22日,一元长寿科技(深圳)有限公司完成数千万元天使轮融资。

一元长寿成立于2024年7月,专注于通过整合先进科技手段(如生命科学、康复工程、人工智能等)提供健康管理解决方案。
CRO
1、华腾生物
1月1日,广州华腾生物医药科技有限公司完成数千万元B+轮融资。

华腾生物成立于2019年3月,是一家基因编辑与动物实验CRO平台,专业从事大型实验动物模型研发、繁育和生物医药研发外包服务。
总结
总体而言,生物医药领域的投融资更趋理性,不少积淀颇深、研发/业绩优秀的医药企业又完成了新一轮资金储备。希望在资本的助力下,各大生物医药企业可以加快技术、药物或候选产品的研发进度,早日为广大患者带来新的治疗选择!

