

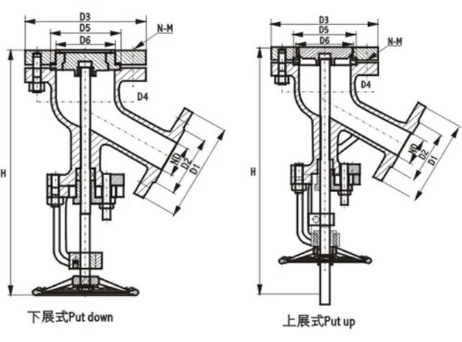
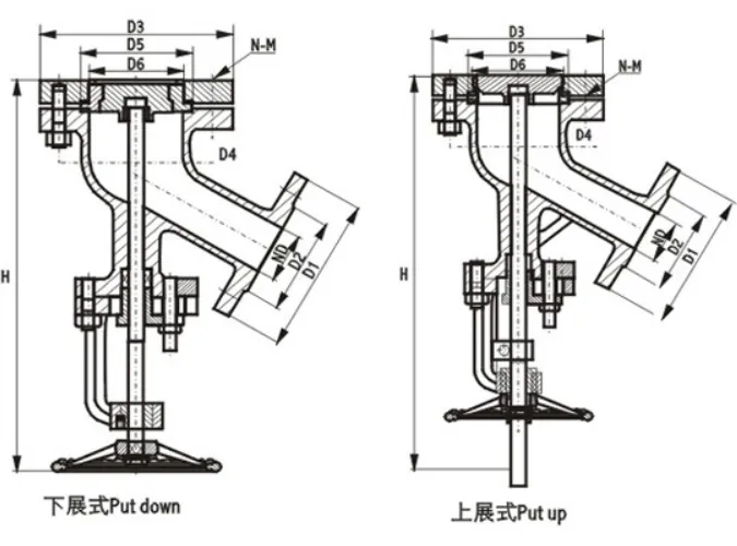
1、结构区别
上展阀:流道通畅,开启后,阀瓣升至阀腔内部,流道直通,无任何障碍物,对介质流动阻力小,适用于高粘度或易结晶的介质。
2.启闭力矩差异
3.尺寸差别
同样的规格,下展阀与罐底连接的凸缘法兰(D3)要大一号。


4.启闭行程差别
上展阀启闭行程小、整体H高度略小。
5.价格
上展阀略便宜。


上展阀:流道通畅,开启后,阀瓣升至阀腔内部,流道直通,无任何障碍物,对介质流动阻力小,适用于高粘度或易结晶的介质。
同样的规格,下展阀与罐底连接的凸缘法兰(D3)要大一号。


上展阀启闭行程小、整体H高度略小。
上展阀略便宜。