发布信息
登陆/注册
搜索
搜索
导航
首页
产品供应
产品求购
企业库
酒业展会
行业资讯
认证会员
站内搜索
行业企业
当前位置:
首页
行业企业
正文
这6张图,让招投标采购流程“门儿清”
作者:本站编辑
2025-12-07 08:49:10
10
这6张图,让招投标采购流程“门儿清”
#不懂就问有问必答
#笔记灵感
招投标“宝藏”图谱,收藏起来!
1⃣️公开招标操作流程图
2⃣️邀请招标操作流程图
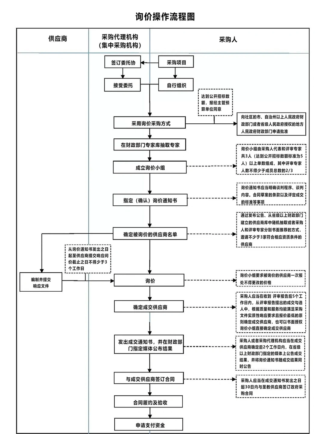
3⃣️询价操作流程图
4⃣️单一来源操作流程图
5⃣️竞争性谈判操作流程图
6⃣️竞争性磋商操作流程图
#招投标
#采购
#招投标采购
#企业采购
#采购日常
#采购部
#政府采购
下一篇:
?投标人&采购商必备,商机快人一步?
上一篇:
中国招标投标网
相关内容
查看全部
走进企业看信心|
2026-04-24 11:11
助贷行业严打现状
2026-04-24 11:07
2026植发行业深度
2026-04-24 11:06
熏蒸杀虫服务企业
2026-04-24 11:05
4.24日【收酒联盟
2026-04-24 11:04
守好钱袋子,护好
2026-04-24 11:03
合规申报辅导:负
2026-04-24 11:02
白酒行业:五年来
2026-04-24 11:02
【船舶人才招聘】
2026-04-24 11:00
沉浸式观看生物质
2026-04-24 10:59