
一批专利招商推介——葡萄酒设备、销售设备、机械提升、测量人体信号类
受委托,我公司对一批专利进行招商推介,详情如下:

01
葡萄酒设备类
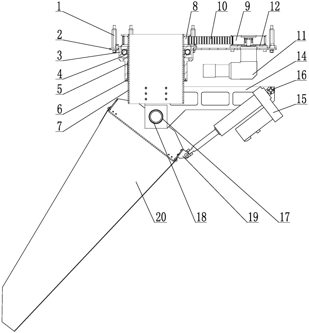
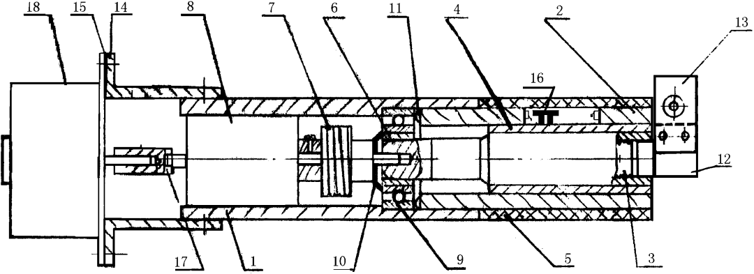
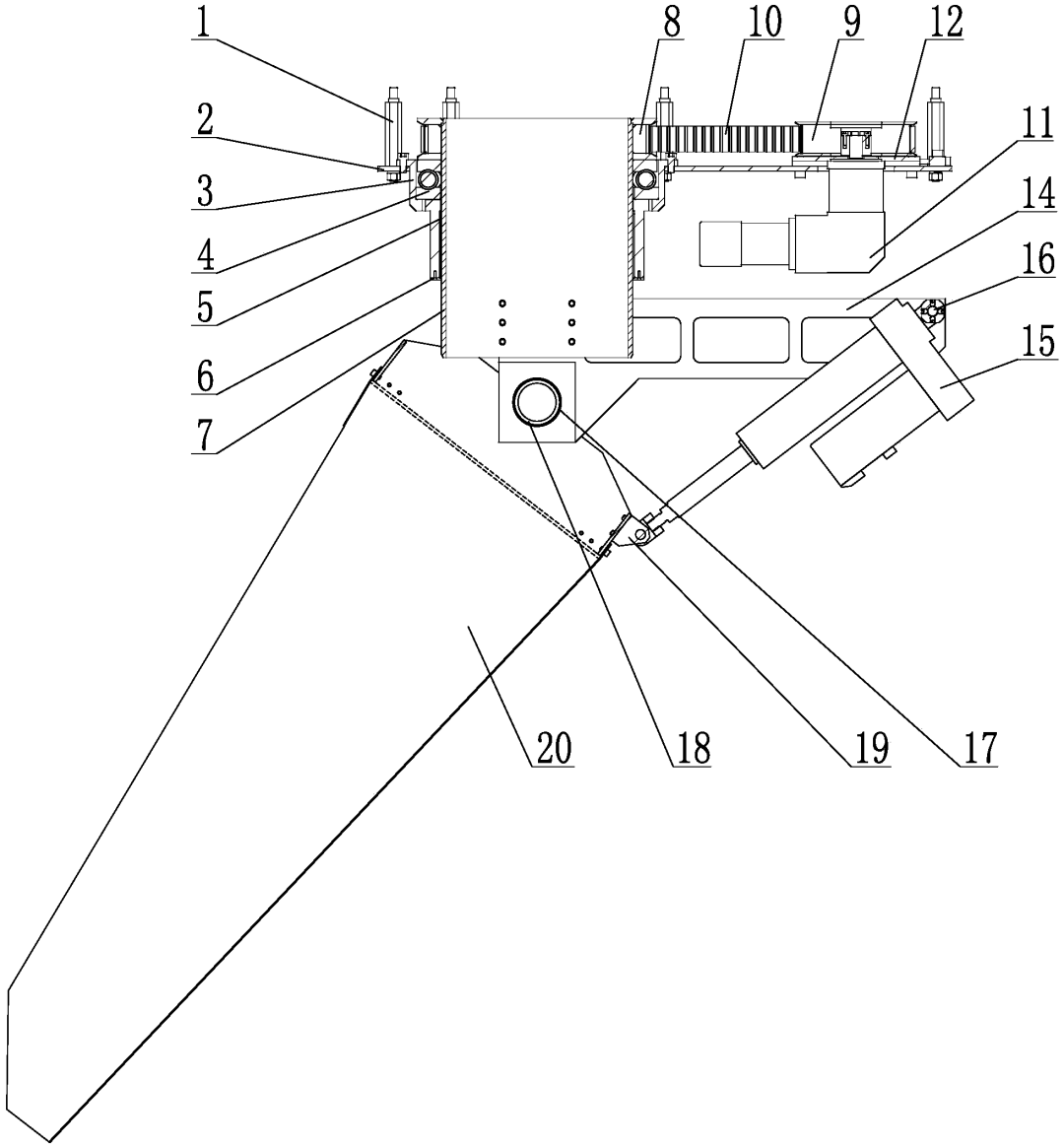
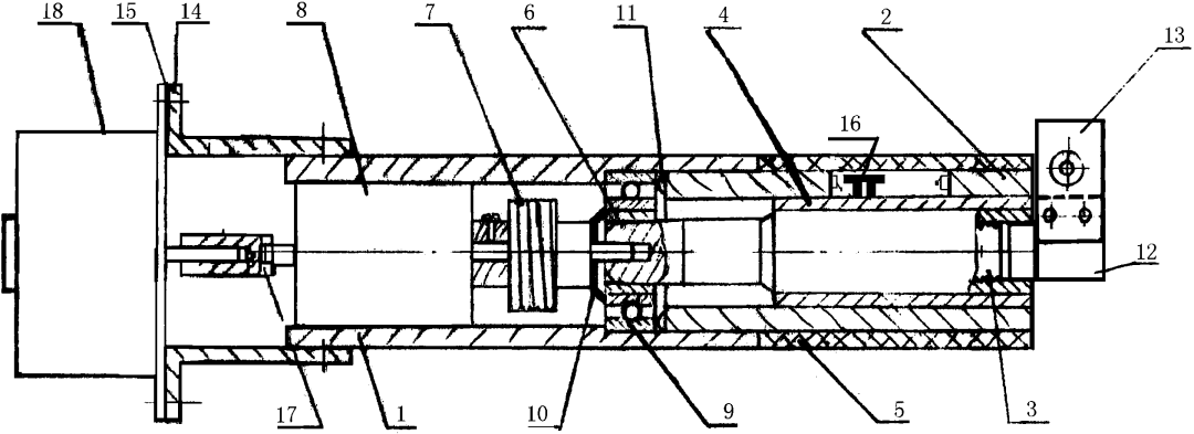
1.一种自动上甑机器人的甑料定点落料装置
申请日:2019-03-21
申请号:CN201920370706.5
公开(公告)号:CN209923290U
公开(公告)日:2020-01-10
摘要:本实用新型提供了一种自动上甑机器人的甑料定点落料装置,包括料筒旋转机构和料斗摆动机构,料筒旋转机构与料斗摆动机构分上下两层布置,而料斗摆动机构又固定在料筒旋转机构的料筒下端,可同时拆卸,也可以分别拆卸,结构简单,安装方便,生产成本低。料筒旋转机构旋转的同时带动料斗摆动机构旋转,而料斗摆动机构摆动时将料斗出料口摆动至甑锅圆形范围内任意位置处进行落料,实现任意位置定点落料的功效,进而满足“探气上甑,匀撒平铺”的酿酒工艺要求。

02
销售设备类
1.售卖机器人
申请日:2021-01-14
申请号:CN202130025858.4
公开(公告)号:CN306597630S
公开(公告)日:2021-06-08
摘要:1.本外观设计产品的名称:售卖机器人。2.本外观设计产品的用途:本外观设计产品作为一种售卖机器人,可以通过自动或人工控制,用于陈列和销售各类商品。3.本外观设计产品的设计要点:在于形状。4.最能表明设计要点的图片或照片:立体图。5.本外观设计产品的底面为使用时不容易看到或看不到的部位,省略仰视图。

03
机械提升类
1.永磁节能制动器储能操作机构
申请日:2013-09-06
申请号:CN201310404514.9
公开(公告)号:CN103434969A
公开(公告)日:2013-12-11
摘要:本发明公开了一种永磁节能制动器储能操作机构,包括:储能轮(1);储能电机(2),通过输出轮(2-2)与所述储能轮(1)传动连接;主动轮(3),与所述储能轮(1)同轴布置,并通过单向机构与储能轮(1)传动连接;从动轮(4),与所述主动轮(3)传动连接;弹性部件,其一端固定,另一端连接于所述储能轮(1);以及锁止机构,在第一状态,其将所述储能轮(1)锁止于储能到位位置;在第二状态,其解除对所述储能轮(1)的锁止。该机构不仅节能效果显著,响应时间短,而且在停电等非正常情况下能够自动调整旋转永磁体的位置,使其处于制动状态,从而避免出现危险。

04
测量人体信号类
1.纳米级分辨率、微米级受控运动的微电极推进器及控制系统
申请日:2016-08-19
申请号:CN201610698099.6
公开(公告)号:CN106236072A
公开(公告)日:2016-12-21
摘要:本发明公开了用于微电极推进的,具有纳米级分辨率、微米级受控运动的微推进器及控制系统,该微推进器包括壳体以及固定连接壳体的马达,壳体的内腔内设置有精密减速器、螺杆组件和夹持部件;螺杆组件包括螺杆和螺套,螺套轴向滑动于壳体内腔,并且壳体二运行终点有轴向限位;螺套的外端部固定连接夹持部件的安装座;马达的输出轴通过减速器连接螺杆;控制系统以单片机为核心的控制部分使推进器受控,并可以补偿减速器等运动链的间隙误差。本文中的微推进器系统大大提高了微推进器的控制精度和分辨率。并且由于微推进器小巧、一体,只需增加一连接件,就可以轻易与目前简易的立体定位仪相连接,将手动的立体定位仪升级成为顶级精度的微电极推进装置。

有意者请与我司联系
联系人:刘经理 电话:13256653839
孙经理 电话:13521479975
点拍科技有限公司
2023年8月22日
