
2026年3月23日,上海远葆医疗器械有限公司宣布完成天使轮融资,融资金额为数千万元人民币。
本轮融资由上海科创投集团旗下知识产权基金独家战略投资。
募集资金将主要用于:
智能精准神经环路多靶点调控机器人系统研发迭代 磁共振影像靶点计算AI系统研发 临床注册申报 市场拓展及前沿技术研发
# 公司介绍
上海远葆医疗器械有限公司成立于2022年。
公司总部位于上海市,主要从事神经调控与神经康复相关医疗器械研发。
企业聚焦脑科学与智能医疗交叉领域,业务涉及神经调控设备、脑机接口相关技术及神经康复解决方案。
# 产品与技术简介
根据公开信息,公司当前重点布局神经调控及脑机接口相关产品与技术,包括:
- 智能精准神经环路多靶点调控机器人系统
- 磁共振影像靶点计算AI系统
多模态神经环路解码技术
- 非侵入式神经调控技术路径
整体技术方向围绕神经环路级调控、脑影像与脑电融合分析、以及非侵入式脑机接口系统展开。
# 融资历程
据神经未来查询企查查网站,该公司融资历程如下表:

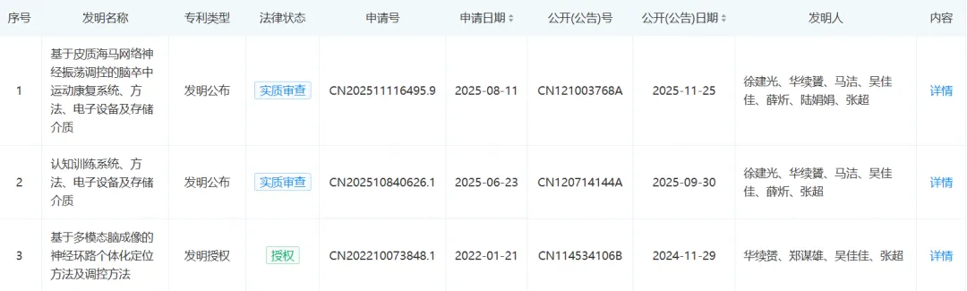
# 专利情况
据神经未来查询企查查网站,该公司专利如下表:


