
在创新科技领域,知识产权的保护显得尤为重要。而最近,美国电动汽车制造商特斯拉就因商标问题引发了一场维权战。这场商标维权战不仅凸显了知识产权保护的重要性,也反映出创新企业在商业化过程中可能面临的困境。
据特斯拉中国介绍,日前,特斯拉诉“特斯拉啤酒”商标侵权一案判决结果公布,法院认定特斯拉系列商标为驰名商标,判处被告中饮食品有限公司(“特斯拉啤酒”)立即停止对特斯拉系列商标专用权的侵害,停止不正当竞争行为,向特斯拉赔偿人民币500 万元,并在报刊上发表公开声明以消除影响。后“特斯拉啤酒”提起上诉,二审法院维持原判。一审,二审:

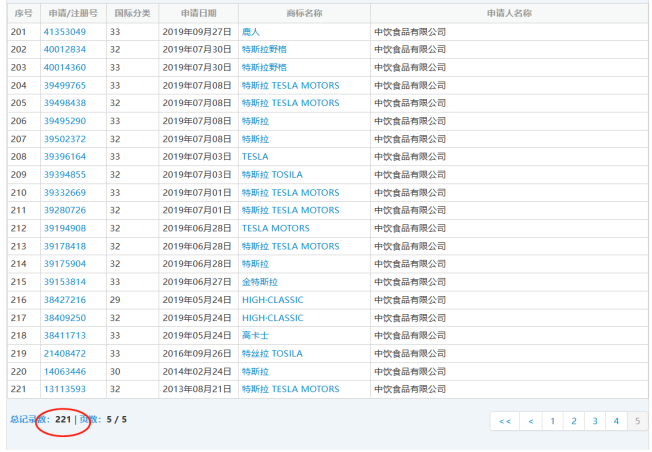
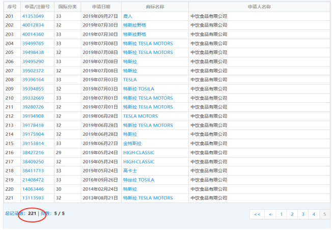
资料显示,中饮食品有限公司,成立于2019年,位于广东省广州市。
据商标局官网显示,中饮食品目前共计申请223件商标,其中多数与“特斯拉”相关。其中包括“TESILA”“特斯拉金质”“特斯拉臻品”“特丝拉”等50多个相关商标。另外,该公司还申请有“派对”“我们兄弟”“新冠”“双黄连”“我要直播”“全民带货”等211件商标。

此次判决中,特斯拉系列商标被法院认定为“驰名商标”,故“特斯拉啤酒”的行为是在不正当地利用特斯拉长期积累的商誉来进行市场竞争,宣传中反复利用特斯拉汽车与名号来误导消费者,存在主观恶意,构成商标侵权。特斯拉的名气不仅令其成为技术领域的佼佼者,还使其成为了各行各业追逐的目标。例如,湖南高院和长沙天心区人民法院近日宣布了一起特斯拉诉冒牌二手车商的胜诉案例。在此案中,一家二手车商在商店门头和店内大量使用“特斯拉”“TESILA”等标识,误导消费者以为其与特斯拉有关联。法院判定其侵权,要求其停止侵害行为并赔偿特斯拉。近年来,随着商品品牌发展多元化,一些经营者通过攀附知名商标,以“搭便车”“傍名牌”的方式使用他人商标销售自己的商品牟利,这不仅损害了注册商标企业的品牌声誉,也侵害了消费者的合法权益。企业经营者在经营过程中,对商标的使用应遵循诚实信用原则。在已申请注册的商标已经具有一定知名度的情况下,应主动避让与他人在先权利相同或近似的标识,不得损害他人在先权利。不然侵权一时爽,赔偿两行泪!商标法规定,侵犯商标专用权的赔偿数额,按照权利人因被侵权所受到的实际损失确定;实际损失难以确定的,可以按照侵权人因侵权所获得的利益确定;权利人因被侵权所受到的实际损失、侵权人因侵权所获得的利益、注册商标许可使用费均难以确定的,由人民法院根据侵权行为的情节判决给予五百万元以下的赔偿。另外,商标法还规定了恶意侵权的惩罚性赔偿:对恶意侵犯商标专用权,情节严重的,可以在按照上述方法确定数额的一倍以上五倍以下确定赔偿数额。
汕头中咨荣知识产权事务所是澄海首家拥有商标一级代理资格专注知识产权全方位服务的代理机构。自2005年成立以来,专业从事商标注册、专利申请、境外商标申请代理、版权著作权登记、专利咨询和有关知识产权领域法律服务,已为上万家粤东知名企业的知识产权保驾护航。本文综合自互联网;
本文仅供学习交流,版权归原作者所有,如涉及转载侵权问题,请联系小编微信(ZZRZSCQ),我们将第一时间处理。