
@各有关企业
2023年度厦门市成长型中小企业认定
正在进行!

一起来看具体内容!

一、认定条件
根据《厦门市优质中小企业梯度培育管理实施细则》(详见附件1),申报的企业须同时满足以下基本条件:
(一)在我市辖区注册登记的,具有独立法人资格,正常开展经营活动,符合《中小企业划型标准规定》的中小企业,但不包括金融业、房地产业和房屋建筑业的中小企业;
(二)申报企业实际经营满三年以上,具有三个完整会计年度的财务数据,即申报企业应在2020年1月1日前成立并经营;
(三)申报企业2022年度的净资产和净利润均不能为负值,且资产负债率须低于70%,2020年、2021年和2022年须有两个(含)以上的年度净资产和净利润为正值;
(四)申报企业属第二产业的,2022年度营业收入应在1000万元(含)以上;属第一、三产业的,2022年度营业收入应在500万元(含)以上;
(五)按产业分类,申报企业2021年度和2022年度营业收入增长率平均值应满足相应条件(详见《申报企业营业收入增长率平均值应满足的条件及说明》,附件2);
(六)申报企业2022年度纳税额须高于50万元(含),企业纳税额以所属期纳税数据为准,实际纳税额应为扣除出口退税后的税额。
\ | /
★
二、认定流程
有意向参与本年度认定的中小企业直接通过网络平台申报,无需提交纸质材料。具体流程如下:
(一)网络申报
?申报企业请访问“厦门市优质中小企业培育专区”(http://py.xmsme.cn/),在主页面中找到“成长型中小企业”申报, 使用“i厦门”法人账号登录,按照步骤填写必要内容,并核对企业基础信息和财务数据,点击申报确认。
?申报时间:2023年7月3日9:00-7月25日24:00,逾期将无法申报。
?工作人员将对企业的申报信息进行初审。审核发现错误,将退回企业修改,企业修改后可再次提交。
(二)认定程序
经专家评审、实地抽查和公示认定等程序后,对公示无异议的企业由市工信局授予“厦门市成长型中小企业”称号,有效期三年。
\ | /
★
三、其他说明
认定工作由厦门市工业和信息化局负责组织,厦门市中小企业服务中心负责申报辅导,厦门市中小企业协会负责申报咨询和受理,未与其他个人和社会机构合作。申报辅导不收取任何费用,申报过程中如有疑问,可咨询相关单位。
\ | /
★
四、联系方式
?厦门市中小企业协会(申报咨询、受理)
?联系电话:2221632、2218117、2206315
?厦门市中小企业服务中心(申报辅导)
?联系电话:2233929、2211065
?厦门市工业和信息化局中小企业处(责任处室)
?联系电话:2896786
?技术支持
?联系电话:5116871-522
\ | /
★
附件
1️⃣厦门市优质中小企业梯度培育管理实施细则
2️⃣申报企业营业收入增长率平均值应满足的条件及说明

一起来看看政策解读吧!



一、政策背景
为促进我市中小企业持续平稳经营,扶持具有成长性的中小企业健康发展,根据《厦门市优质中小企业梯度培育管理实施细则》(厦工信规〔2023〕2号)的相关规定,开展2023年度厦门市成长型中小企业认定工作。

二、认定依据
《厦门市优质中小企业梯度培育管理实施细则》(厦工信规〔2023〕2号)

三、主要内容
✔(一)认定条件
?申报的企业须同时满足以下基本条件:
1️⃣在我市辖区注册登记的,具有独立法人资格,正常开展经营活动,符合《中小企业划型标准规定》的中小企业,但不包括金融业、房地产业和房屋建筑业的中小企业;
2️⃣申报企业实际经营满三年以上,具有三个完整会计年度的财务数据,即申报企业应在2020年1月1日前成立并经营;
3️⃣申报企业2022年度的净资产和净利润均不能为负值,且资产负债率须低于70%,2020年、2021年和2022年须有两个(含)以上的年度净资产和净利润为正值;
4️⃣申报企业属第二产业的,2022年度营业收入应在1000万元(含)以上;属第一、三产业的,2022年度营业收入应在500万元(含)以上;
5️⃣按产业分类,申报企业2021年度和2022年度营业收入增长率平均值应满足如下条件:

▶点击查看大图
6️⃣申报企业2022年度纳税额须高于50万元(含),企业纳税额以所属期纳税数据为准,实际纳税额应为扣除出口退税后的税额。
✔(二)认定流程
1️⃣网络申报
申报企业请访问“厦门市优质中小企业培育专区”(http://py.xmsme.cn/),在主页面中找到“成长型中小企业”申报, 使用“i厦门”法人账号登录,按照步骤填写必要内容,并核对企业基础信息和财务数据(企业年度财务数据申报系统自动获取,企业申报时无需填报,只需查看及核对数据),点击申报确认。
?申报时间:2023年7月3日9:00-7月25日24:00,逾期将无法申报。
?工作人员将对企业的申报信息进行初审。审核发现错误,将退回企业修改,企业修改后可再次提交。
2️⃣认定程序
经专家评审、实地抽查和公示认定等程序后,对公示无异议的企业由市工信局授予“厦门市成长型中小企业”称号。经认定的成长型中小企业有效期为三年。

四、获得认定的扶持措施
根据《厦门市中小企业发展专项资金使用管理办法》(厦工信规〔2023〕5号)的规定,对经认定的厦门市成长型中小企业给予银行贷款贴息,贴息金额最高可达企业上一年度(自然年度)实际支付利息的40%,每个企业每年贴息额度最高50万元,认定有效期内只享受一次。

具体如何申报呢?
请查看操作指南:


一、 登录
申报企业访问“厦门市优质中小企业培育专区”(http://py.xmsme.cn/),在主页面中找到“成长型中小企业”,点击“申报”按钮。
系统将自动跳转到厦门惠企政策兑现平台,点击“2023年度厦门市成长型中小企业认定”标题左下方的“登录”。
请使用i厦门法人账号登录平台(i厦门法人账号的用户名应为公司名称)。关于账号找回、密码找回等问题,请拨打i厦门技术电话:5051516、5051180。
输入账号密码,登录成功后进入授权页面 (如未授权将无法在平台进行政策兑现操作) ,确认授权后进入兑现系统。(首次登录系统要求企业确认“企业授权书”。)

二、确认兑现
(一)申报“2023年度厦门市成长型中小企业认定”政策:
企业登录平台后请在政策列表上找到“2023年度厦门市成长型中小企业认定”政策,点击【确认兑现】,进入政策申报页面。
点击确认兑现后,系统会提示“告知书”,勾选“我已阅读并同意告知书内容”,点击【确定】进入兑现页面。
(二)确认信息:
进入政策详情页,系统会展示企业的账户信息、法定代表人信息、工商信息和税务信息。请企业确认信息是否正确。
若企业对系统获取的基础信息和财务数据没有异议,请点击页面底部的【确认兑现】完成申报,等待审核,审核结果将通过系统短信告知企业;若企业对系统获取的数据信息有异议,请按照以下方式做好数据修改或者异议申诉。
(1)账户信息修改:
请点击账户信息旁的
,进行账户信息修改。
(2)法定代表人信息修改:
若系统获取的法定代表人信息有误,请直接修改。
(3)工商信息确认及异议申诉:
请企业核对工商信息,并按照要求填写地址、负责人、电话等必要信息。
若对系统获取的工商信息有异议,请点击页面底部的异议申诉,说明原因并提交相应的证明材料。
(4)税务信息确认及异议申诉:
?请企业仔细核对系统获取的税务信息。
①若系统获取的税务信息缺失,请点击页面底部的异议申诉,说明原因并提交相应的证明材料。(与工商信息异议申诉的操作方式一致,如有多项异议申诉,请按顺序逐条说明原因,并提交相应的证明材料)
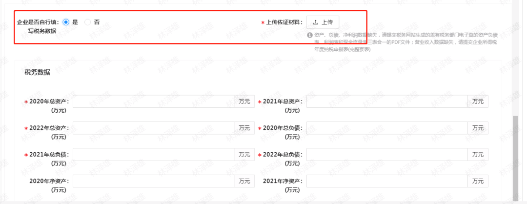
②若系统获取的税务数据为空值,请在“企业是否自行填写税务数据”选择“是”,系统会提示企业填写相应数据,并提交证明材料。

三、审核进度的查看
提交兑现后,企业可登录平台,在【用户中心】页面查看兑现进度,进行相应操作。
(一)撤销兑现、重新申报操作
企业在确认兑现期内,若数据填写错误或者想重新申报,在待审核状态下,可重新申报。
(二)异议申诉查看操作
企业异议申诉后,系统后台人员将进行审核。审核结果将通过短信告知企业。企业收到短信后,登录平台,点击【用户中心】,点击【异议申诉】进行查看。确认无误后,企业可重新申报。
(三)退回修改操作
审核过程中,后台将根据审核情况随时退回企业提交的数据信息。企业在接到系统退回修改的短信后,请及时登录平台【用户中心】,找到“2023年度厦门市成长型中小企业认定”政策,点击【退回修改】,查看原因并修改。

四、技术支持电话
?技术电话:0592-5116871转522、521
点击“阅读原文”
查看申报通知
来源:厦门市工信局、厦门市中小企业
END






















