点击上方↑“企标展览信息”↑关注我们
福建企标科技服务有限公司
漳州标企会展服务有限公司
是商务厅指导下亚太合会理事单位
漳州婴童产业联盟协会理事单位
商务局指导下漳州会展产业促进会理事单位
漳州贸促会指导下国际商会漳州商会理事单位
是一家专业的会展服务公司
FuJian Qibiao Science and Technology Service Co.,Ltd
Zhangzhou Biaoqi Exhibition Service Co., Ltd
It is a council member unit of the Asia-Pacific Federation under the guidance of the Department of Commerce.
Member Unit of Zhangzhou Infant and Child Industry Alliance Association.
Council Member of Zhangzhou Convention & Exhibition Industry Promotion Association, under the guidance of Zhangzhou Municipal Bureau of Commerce.
Under the guidance of Zhangzhou Council for the Promotion of International Trade, the Zhangzhou Chamber of Commerce member unit is a professional exhibition service company.
致力于促进国内外贸易,提供专业会展、商务服务的机构。公司致力于为从事贸易企业提供出国参展和商务考察全方位的综合服务体系,主办、承办展览及会议,展台搭建设计与制作;组织企业参与国(境)内外各类展会、促进企业海外市场推广;为企业提供商事法律服务以及电子信息咨询、标准化信息咨询、经贸培训等服务。
公司拥有一支专业的服务队伍,熟悉各项国内外贸易补贴政策,可协助符合补贴政策的企业准备申领材料,为企业提供专业的指导和优质的服务。
主营范围:境外展、参展补贴咨询、其他类补贴咨询、旅游、考察等相关服务。
。





福建省会展产业促进会理事牌匾

福建省农产品市场协会合作单位



福建漳州蓝天学校赠:情系特教爱暖童心




FABEX 2026



Seoul Food & Hotel


MALAYSIANINTERNATIONALFOOD & BEVERAGETRADE FAIR

VIETFOOD & BEVERAGE






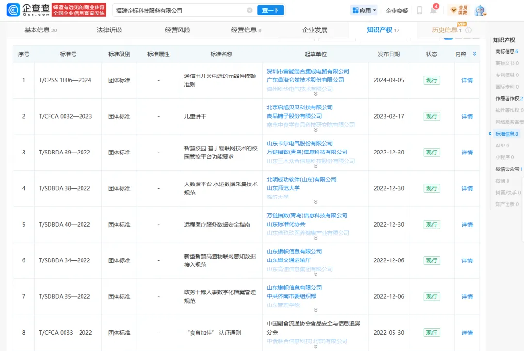
企查查软件可查询的标准8项

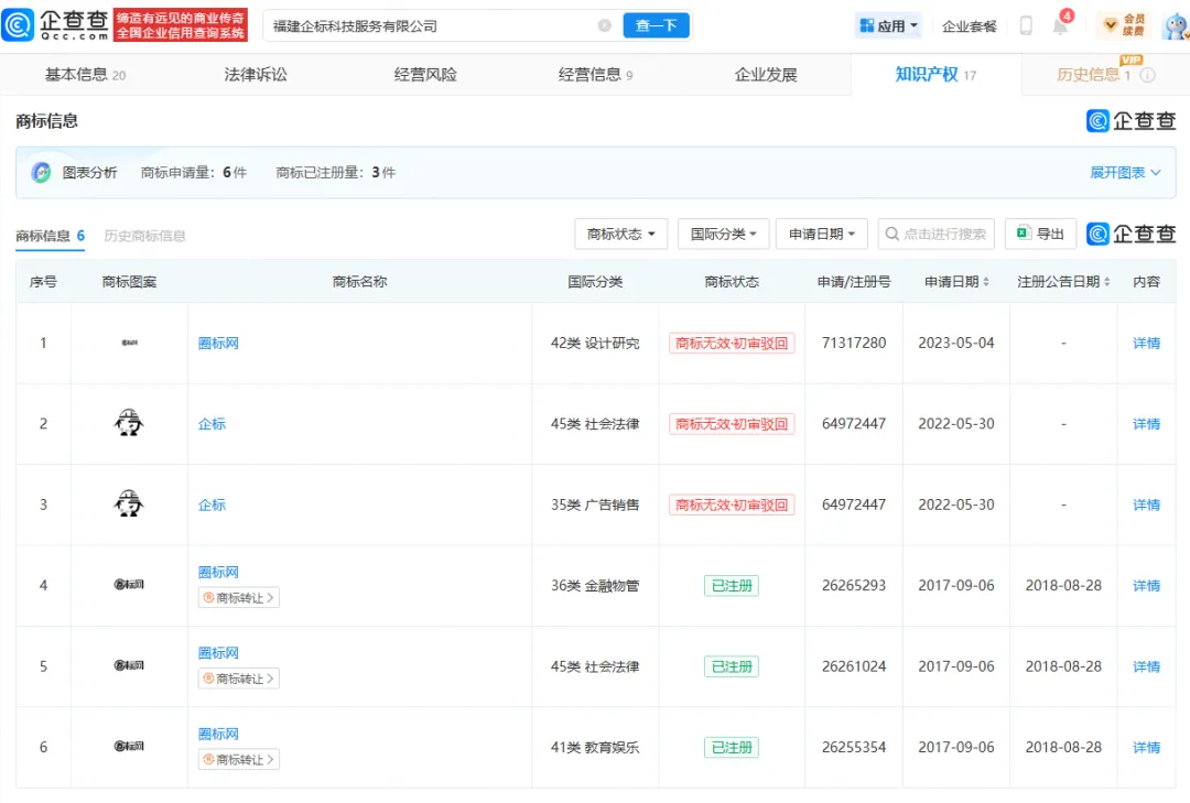
福建企标—已注册的商标
