
洛龙区Tong乐荟项目推介会盛大启幕;洛阳四宗宅地成交两宗,单价500万/亩...

3月20日 星期五


洛龙区Tong乐荟项目推介会盛大启幕
2026年3月18日,由国晟集团、城乡建投集团操盘,会展公司运营的Tong乐荟项目以「Tong心绮遇 欢乐主场」为主题的项目推介会启幕,Tong乐荟项目是把原洛阳会展中心魔改升级成9.5万㎡的沉浸式体验馆。

从本地知名到国际连锁,到场品牌超80余家,签约品牌为:长申超市(洛阳首家旗舰店)、奥斯卡(洛阳首家CINITY LED影厅)、武哥餐饮集团、熊猫体育(16家专业运动品牌)、鸿岩攀岩(洛阳旗舰店)、咔兔篮球(洛阳旗舰店)、KFC、Pizza Hut、Starbucks、Apple等核心品牌。

Tong乐荟项目融合“定位、场景、业态、客群”四大功能跨界,打造能消费的自然空间,“核心客群+辐射客群”全场景覆盖,塑造城市轻度假自然消费目的地。

项目总建筑面积约10万㎡,地下1层,地上3层,停车位约1200个,截至目前招商率突破70%,下一步将持续引进知名连锁首店,为项目开业奠定良好基础。未来,Tong乐荟项目将以TOD+PARK为核心优势,打造“15min就能去的城市绿洲”。




建筑改造后,将分设地下一层至地上三层商业区域,计划2026年6月投入试运营。项目所在地半径三公里范围覆盖73万常住居民与十余万高校师生群体,邻近轨道交通二号线路段。




空间布局方面,地下一层约4300平方米规划精品零售业态;首层12000平方米重点打造儿童游乐与数字互动项目;二层11000平方米布局餐饮业态,设有主题餐饮、亲子餐厅等特色空间;三层同面积段将配置教育培训、文体休闲等功能性场所。目前可租赁总面积约4万平方米,配套约1200个停车单元。

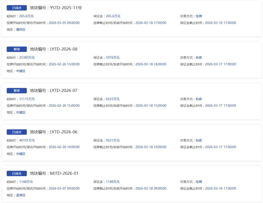
洛阳四宗宅地成交两宗,单价500万/亩
3月18日,洛阳土地市场迎来竞拍,四宗涉宅及建设用地悉数登场,最终两宗成交两宗流拍。


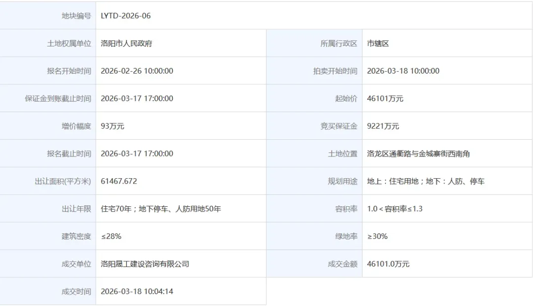
LYTD-2026-06号地块
位于洛龙区通衢路与金城寨街西南角LYTD-2026-06号约92.2亩住宅地块顺利成交,被洛阳晟工建设咨询有限公司以46101万元总价拿下块,成交单元约500万元/亩。



拿地主体洛阳晟工建设咨询有限公司企业成立于2025年1月24日,注册资本500万元,隶属于洛阳国晟集团体系,股权结构清晰且实力雄厚:由洛阳国晟城市休闲产业有限公司持股90%,河南省中工设计研究院集团股份有限公司持股10%,属于国资主导的有限责任公司。

依托国晟集团的国企信用背书与中工设计院的专业技术加持,公司打造了“国企主导+专业赋能”的独特发展模式,现阶段立足洛阳本土、逐步辐射周边区域,核心聚焦工程咨询全链条服务,深耕城市建设相关领域。

项目位于龙区通衢路与金城寨街西南角,主要建设住宅、商业、地下车库等。目前,该地块设计方案已经开始招标了,预计将建设洋房等低密度住宅。
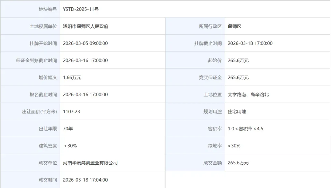
YSTD-2025-11号地块
位于偃师区太学路南、高辛路北的YSTD-2025-11号约1.66亩住宅用地被河南华袤鸿凯置业有限公司拿下,拿地单价约160万元/亩。



-END-
如果你不知道买哪的新房或二手房,可以扫描下方二维码加小编微信,小编将为您建立一对一的买房群,免费车接车送带您看房,成交返万元大礼包,电话:团长18537979006(微信同电话),或点击右边链接拨号:点击拨号


洛阳房团购:洛阳专业的团购买房组织,从2007年组织团购一品公寓、2008年组织团购开元名郡、2009年组织团购东方今典观澜到现在,19年来已经组织了100多次新房团购,帮助了数千网友团购买房。
