感谢所有朋友对本次摄影展与摄影集项目的关注与支持。
为保持项目的公开、透明,现将本次摄影展与摄影集制作相关费用与款项去向说明如下:
截至2026年2月3日
总收入:人民币66875.1元
其中包含:

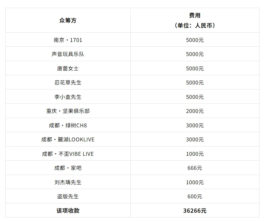
2.【PH7微店摄影集众筹】

3.【摄影展现场收入】

总支出:人民币 56256元
其中包含:

【项目当前结余款项】(单位:人民币)
收入:66875.1元
支出:56256元
结余:10619.1元
截至2026年2月3日,我们已转交给张恒父母:
10000 元(人民币壹万圆整)
以上款项均已实际发生并完成交付,如有需要,可提供相应凭证说明。
此外,展览的制作及相关费用8883元,已由小酒馆全部承担,不计入总支出费用。
感谢 柳爽团队向张恒父母捐助人民币:50000 元(伍万圆整),该款已直接转入张恒父母提供的账号。
感谢 史雷、蔡鸣、唐菉潞 、周北树、郝匪匪,为本次摄影展与摄影集给予的全程指导、帮助、和执行。
感谢 关心、支持与理解本次摄影展的每一个朋友。
PH7 忍花草 / 小酒馆 唐蕾
敬上
2026年2月4日

展览名称
张恒(给我五)纪念展:留在光里的瞬间
展览时间
2026.1.18~4.05
周二至周日 11:00~18:00
展览地点
小酒馆芳沁空间(成都市高新区芳沁街87号附5号)
展览信息请点击下方「阅读原文」


成都小酒馆
● [玉林店]:成都市玉林西路55号
●[万象城店]:成都市双庆路8号万象城
A馆负一层下沉广场
● [芳沁空间]:成都市高新区芳沁街87号附5号
新浪微博:@成都小酒馆
小红书:@成都小酒馆Littlebar
抖音:@成都小酒馆
长按二维码 关注微信



