发布信息
登陆/注册
搜索
搜索
导航
首页
产品供应
产品求购
企业库
酒业展会
行业资讯
认证会员
站内搜索
行业企业
当前位置:
首页
行业企业
正文
采购招投标流程图
作者:本站编辑
2025-12-07 08:49:14
1
采购招投标流程图
#不懂就问有问必答
这6张图,让招投标采购流程“门儿清”!招投标“宝藏”图谱,收藏起来!
1.公开招标操作流程图
2.邀请招标操作流程图
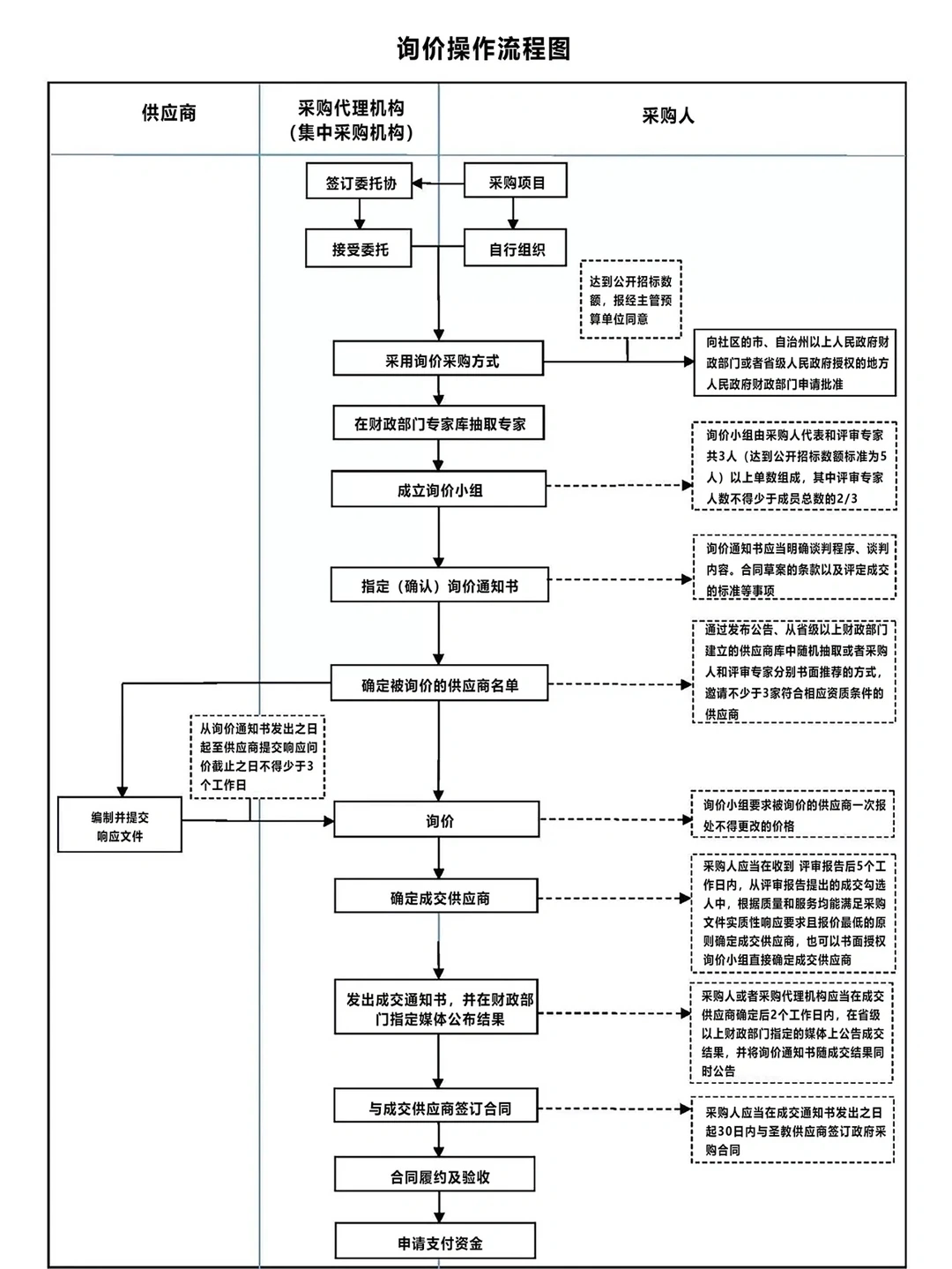
3.询价操作流程图
4.单一来源操作流程图
5.竞争性谈判操作流程图
6.竞争性磋商操作流程图
#采购
#供应链
#企业采购
#采购日常
#采购管理
#采购与供应链管理
#CPPM注册职业采购经理
#cppm采购培训
#cppm报名
下一篇:
淄博阳光采购服务平台
上一篇:
权威评标平台:足不出户,副业收入或超主业
相关内容
查看全部
2026年茅台首次负
2025-12-13 05:24
酱香年份老酒套路
2025-12-13 05:23
抖音酒水如何上架
2025-12-13 05:21
易周红酒 诚聘:
2025-12-13 05:20
下一个风口就是私
2025-12-13 05:19
高盛研报,茅台经
2025-12-13 05:17
西班牙里奥哈百年
2025-12-13 05:16
天津有太多资源可
2025-12-13 05:14
茅台批发价跌破14
2025-12-13 05:13
第四届 FOOD&WINE
2025-12-13 05:11