发布信息
登陆/注册
搜索
搜索
导航
首页
产品供应
产品求购
企业库
酒业展会
行业资讯
认证会员
站内搜索
行业企业
当前位置:
首页
行业企业
正文
? 采购招投标流程
作者:本站编辑
2025-12-07 08:49:09
11
? 采购招投标流程
#不懂就问有问必答
#笔记灵感
这6张图,让招投标采购流程“门儿清”!
招投标“宝藏”图谱,收藏起来!
1⃣️公开招标操作流程图
2⃣️邀请招标操作流程图
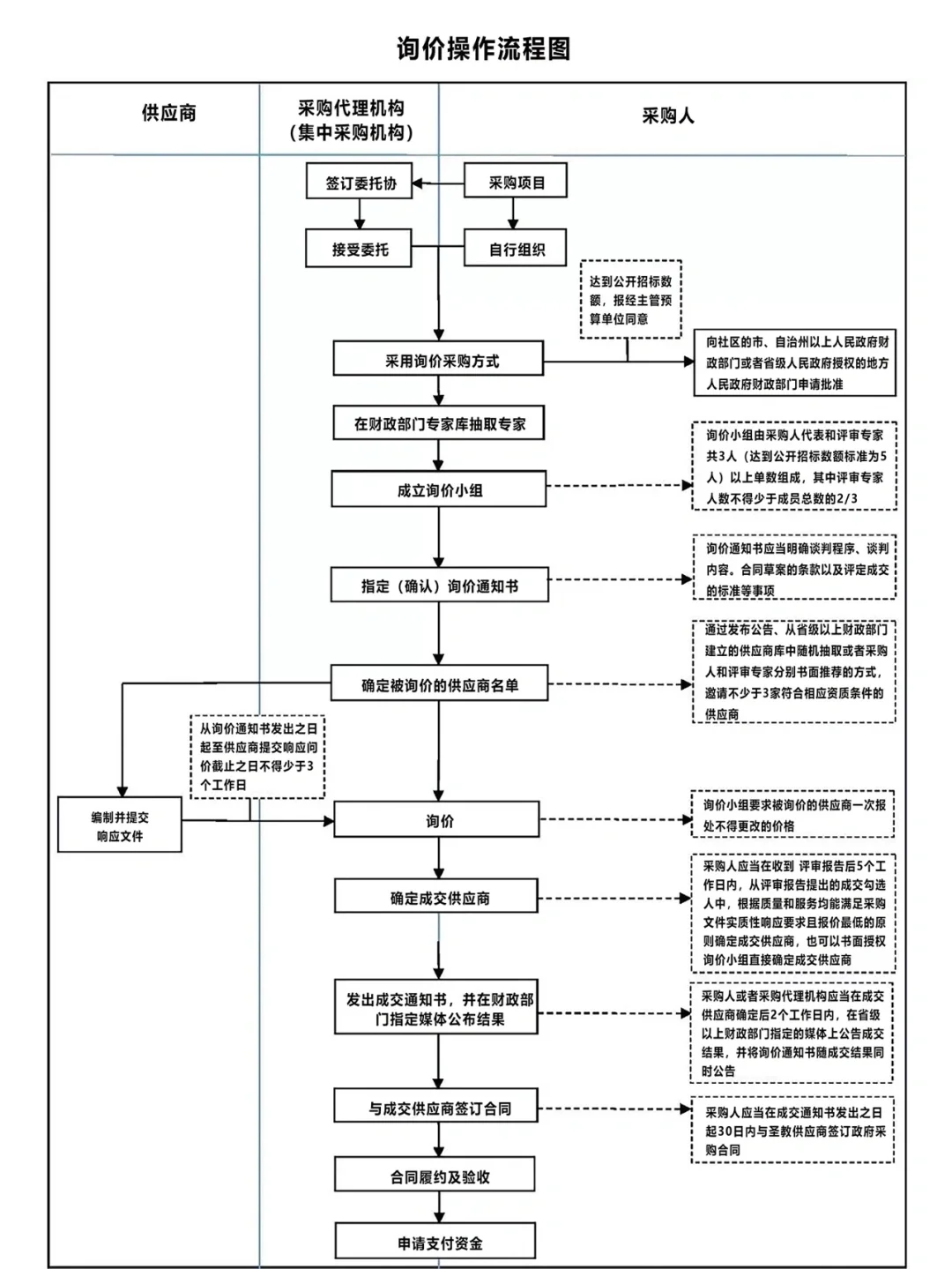
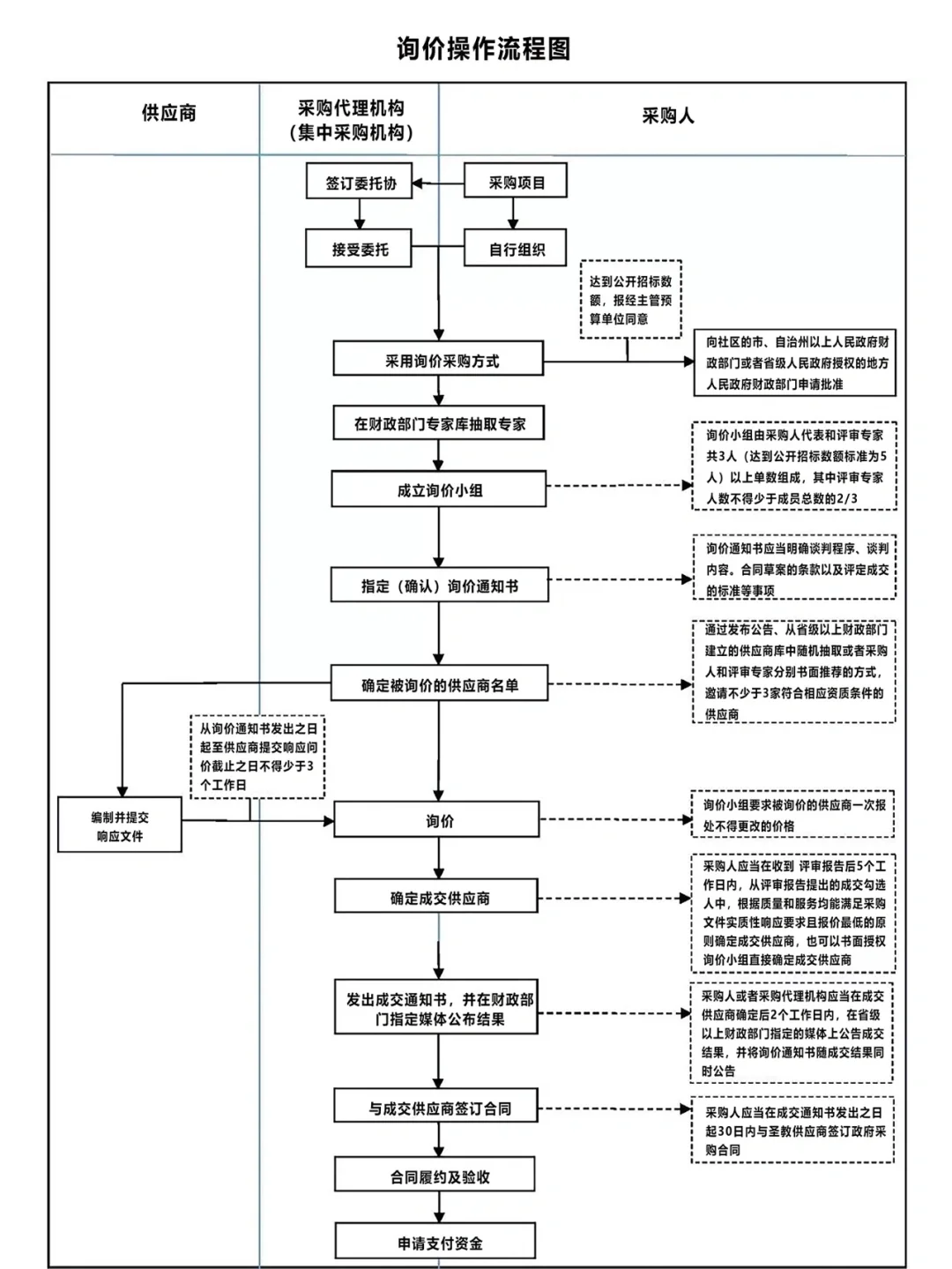
3⃣️询价操作流程图
4⃣️单一来源操作流程图
5⃣️竞争性谈判操作流程图
6⃣️竞争性磋商操作流程图
#招投标
#采购
#流程图
下一篇:
重庆市公共资源交易网报名流程看清楚哈!
上一篇:
招标采购流程图实用到爆!,抓紧收藏吧
相关内容
查看全部
行业生态共建 聚
2026-04-10 20:52
【行业动态】让企
2026-04-10 20:51
企业发展 | 定义
2026-04-10 20:34
租赁行业百家企业
2026-04-10 20:30
租赁行业百家企业
2026-04-10 20:30
工信部等多部门联
2026-04-10 20:00
15载白酒T9峰会、
2026-04-10 19:58
关于征求《 蜂蜜
2026-04-10 19:58
万字详解:2026年
2026-04-10 19:48
白酒行业50条优秀
2026-04-10 19:42