请关注食品官视频号!
夏日炎炎,又到了撸串喝啤酒,吃雪糕的季节喽!如果能吃一口啤酒味的雪糕那岂不是能体验双倍的快乐!这不雪花啤酒和蒙牛雪糕推出冰+啤酒雪糕,让我们一起来看看怎么个事。
01
蒙牛&勇闯天涯
“来支啤酒 交个朋友”、“好想和你 勇闯天涯”、“不想加油 只想加酒”,又到了吃雪糕的季节了!近期市场上推出了“蒙牛冰+勇闯天涯”联名款冰淇淋,显而易见这是蒙牛乳业和雪花啤酒品牌与品牌的联名产品。

来支啤酒,交个朋友。
好想和你,勇闯天涯。
吃了千万别开车,会酒驾......

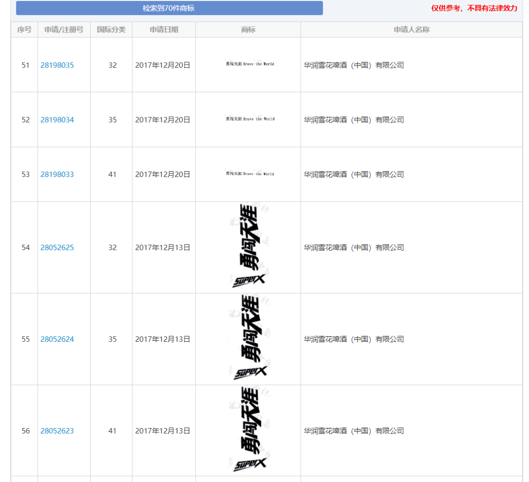
通过国家知识产权局网站查询得知,“勇闯天涯”已被华润雪花啤酒(中国)有限公司申请注册商标,涉及食品、啤酒饮料、服装、箱包、广告销售等45个类别。
“冰+”被内蒙古蒙牛乳业(集团)股份有限公司申请注册商标,不过只有30类冰淇淋相关小类通过初审并下证。


02
雪花&蒙牛,双赢还是双输?
品牌跨界联名是一种实现1+1 > 2效果的营销手法,结合双方的优势资源、融合双方元素特征,共同推出联名商品,借此吸引不同领域的消费客群。来实现拓展新客群、扩张影响力、创造更高品牌价值等目标实现营销效果。
以“联名界的天花板”喜茶为例,因其创新的产品和精致的品牌形象而受到广泛的欢迎。喜茶经常与其他品牌进行联名合作,从而实现各种营销和业务目标。还有去年爆火的酱香拿铁,刷新单品纪录,单品首日销量突破542万杯,单品首日销售额突破1亿元。

一个成功的联名不仅能获得流量,还能获得销量,同时还能交换用户群体。
那么你认为此次蒙牛和雪花啤酒联手是双赢还是双输?欢迎评论区留言。
来源 | 商标圈、正择知识产权研究院

上一篇
下一篇

爆料、商务合作:18501117117(手机/微信)
