
行业主要上市公司:兰生股份(600826.SH)、米奥会展(300795.SZ)、振威会展(834316.OC)、汉商集团(600774.SH)、佰锐博雅(872937.OC)、励翔会展(872510.OC)等。
会展投融资事件先升后降,投融资金额波动变化
2014年以来,中国会展行业投融资事件数量整体呈现先升后降的趋势,2016年的事件数量达到9起,之后投融资事件数量波动下降。在投融资金额方面,2014年以来呈现波动变化趋势,其中2021年发生的事件金额超过4.1亿元,为近年来的最高水平。

注:此处的融资金额仅统计披露了具体融资金额的事件。
从单笔融资金额来看,2014年以来,中国会展行业单笔融资水平整体呈现先上升后下降的趋势,2019年达到1.19亿元,而其余年份的单笔融资水平均未超过1亿元。

注:此处仅统计披露了投融资事件金额的年份。
会展投融资集中在新三板及定增阶段
从融资轮次来看,近年来中国会展行业的融资轮次集中在新三板及新三板定增环节,融资事件数量达到20起;其次是天使轮和A轮,分别发生投融资事件8起和6起。

会展投融资集中发生在北京地区
从区域来看,2014年以来,中国会展行业投融资事件集中发生在北京市、上海市、广东省,发生的事件数量分别为19起、6起、5起。

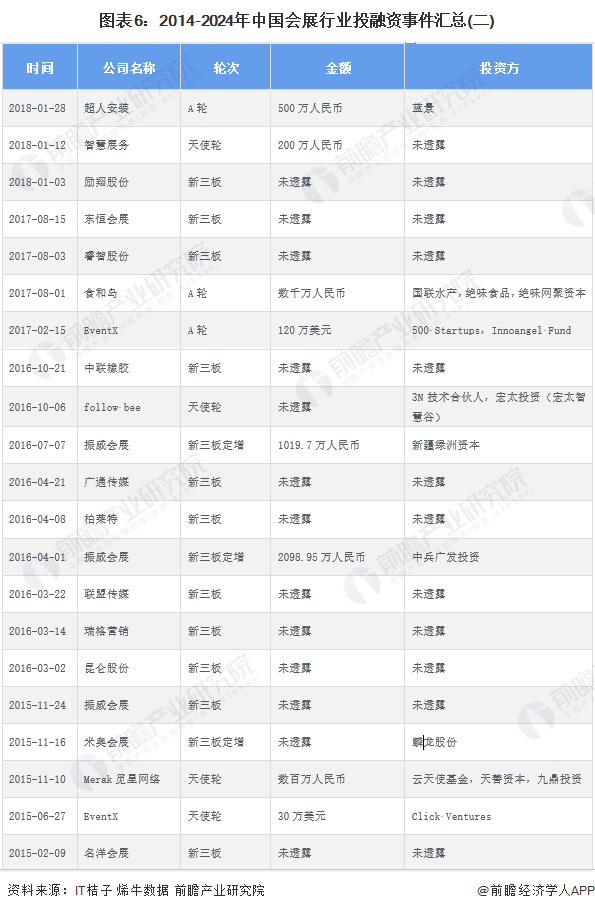
会展投融资事件汇总
2014-2024年4月,中国会展行业投融资事件具体会展如下:



会展产业投资基金起步较早
据中国证券投资基金业协会披露的基金备案信息,会展行业相关产业基金起步较早,最早成立的基金可追溯到2014年;从区域来看,会展相关产业基金较多分布在上海地区,部分基金分布在河南和北京地区。

注:统计时间截至2024年4月,下同。
兼并重组目的多为横向扩大规模
目前,会展行业发生的兼并重组事件集中在中游环节,并购类型均属于中游企业通过收购进行横向扩大业务规模,收购方包括兰生股份、米奥会展等行业领先企业。但总体来看,行业兼并重组事件数量仍较少。

会展行业投融资及兼并重组总结

更多本行业研究分析详见前瞻产业研究院《中国会展(MICE)产业发展前景预测与投资战略规划分析报告》。
同时前瞻产业研究院还提供产业大数据、产业研究报告、产业规划、园区规划、产业招商、产业图谱、智慧招商系统、行业地位证明、IPO咨询/募投可研、专精特新小巨人申报等解决方案。在招股说明书、公司年度报告等任何公开信息披露中引用本篇文章内容,需要获取前瞻产业研究院的正规授权。
![]() | ![]() | ![]() |
![]() | ![]() | ![]() |






原创声明:本文内容为前瞻产业研究院原创文章,未经授权,不得转载至公众号或其它第三方平台,侵权必究!如需转载请在相应文章底部留言或微信添加懂行帝(微信:qianzhanseo)授权。


前瞻产业研究院
SINCE 1998
FORWARD
股票代码:839599
前瞻产业研究院于1998年在北京清华园成立。26年来,前瞻作为国内唯一国际院士领衔的民营智库,坚持两翼一体的可持续发展战略,以“宏观研究+技术洞察+自研大数据”为可持续发展先行之翼,以“智库专家+平台资源"为落地性发展后固之翼,致力于为政府、企业、科研院所等单位提供一体化的产业发展咨询服务。
帮政府 解决规划与落地问题
产业研究
产业规划
产业招商
产业政策
空间规划
产业基金

帮企业 解决战略与市场问题
业务发展战略规划
市场竞调与定位
行研报告与评估
行业影响与证明
IPO上市辅导
单项冠军专业申报

更懂产业的科技型决策智库
FORWARD.

前瞻使命
让用户更懂行业
让决策更前瞻

国际院士领衔
560+研究员
6600+细分研究

以客户价值为导向
服务超22万+政企单位
完成1800+规划项目
欢迎各种咨询→

产业咨询
400-639-9936

研究咨询
400-068-7188
内容转载请联系:前瞻懂行帝
(微信号qianzhanseo)
更懂产业,驱动决策走在前列
FORWORD, FOR WORLD








