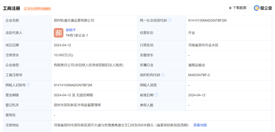
据爱企查显示,郑州轨道交通运营有限公司于4月12日注册成立,注册资本1亿元,注册地位于河南省郑州市郑东新区。郑州地铁集团持股100%。
郝晓平任郑州轨道交通运营有限公司董事长,王转建任董事兼总经理。郝晓平同时还担任河南郑许轨道交通有限公司董事长。

经营范围:许可项目:城市公共交通;安全评价业务;输电、供电、受电电力设施的安装、维修和试验(依法须经批准的项目,经相关部门批准后方可开展经营活动,具体经营项目以相关部门批准文件或许可证件为准)一般项目:铁路运输辅助活动;工程管理服务;劳务服务(不含劳务派遣);人力资源服务(不含职业中介活动、劳务派遣服务);业务培训(不含教育培训、职业技能培训等需取得许可的培训);租赁服务(不含许可类租赁服务);非居住房地产租赁;机械设备租赁;计算机及通讯设备租赁;普通机械设备安装服务;仓储设备租赁服务;建筑工程机械与设备租赁;机械设备研发;电子、机械设备维护(不含特种设备);停车场服务;物业管理;专业保洁、清洗、消毒服务;普通货物仓储服务(不含危险化学品等需许可审批的项目);技术服务、技术开发、技术咨询、技术交流、技术转让、技术推广;企业管理咨询;安全咨询服务;消防技术服务;信息咨询服务(不含许可类信息咨询服务);咨询策划服务;计量技术服务;通讯设备修理;设备监理服务;工业自动控制系统装置销售;轨道交通专用设备、关键系统及部件销售;通信设备销售;信息系统集成服务;软件开发;软件销售;计算机软硬件及辅助设备零售;工艺美术品及收藏品零售(象牙及其制品除外);玩具、动漫及游艺用品销售;文具用品零售;自动售货机销售;互联网销售(除销售需要许可的商品);日用品批发;日用品销售;医用口罩零售;办公用品销售;个人卫生用品销售;货物进出口;技术进出口;紧急救援服务(除依法须经批准的项目外,凭营业执照依法自主开展经营活动)



