近日,娃哈哈产品持续热销,不少网友喊话娃哈哈推出啤酒产品。有网友表示,喝AD钙奶长大的孩子如今已经到了喝啤酒的年龄。

还有网友为娃哈哈啤酒产品包装设计了外观手稿,甚至制作了产品宣传片。


有的网友甚至提议要搞几个系列


针对娃哈哈的啤酒应该如何称呼,网友还争论了一番,有网友说应该叫“哈啤”,有网友却认为应该叫“娃啤”!
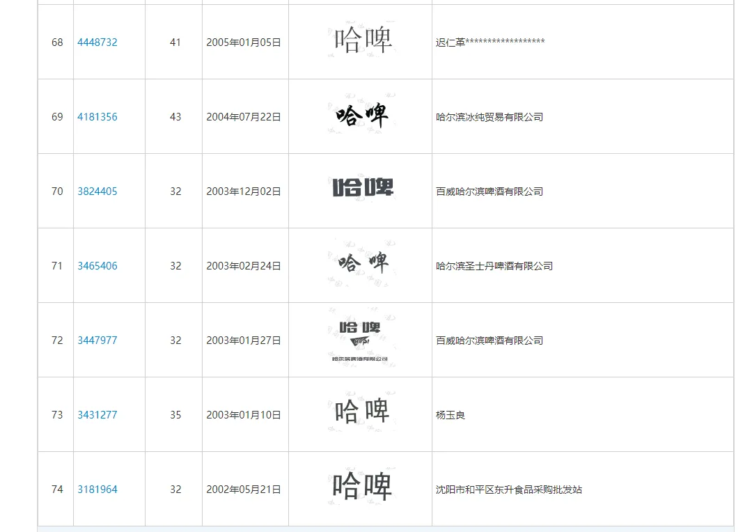
不过小知通过查询发现,“哈啤”早在2002年就被申请注册商标了。

而百威哈尔滨啤酒有限公司于2003年申请的“哈啤”商标已于2005年被核准注册。

值得一提的是,“娃啤”目前还没被任何个人和企业申请注册。
对于“生产啤酒”这事,娃哈哈直播间也进行回应,称已经把啤酒需求反馈给了研究院,而生产新品需要一定的时间,希望大家耐心等待。同时呼吁,由于直播间有很多未成年人,酒类可以优先去其他平台购买。

从娃哈哈对网友的回应不难看出,对于啤酒,娃哈哈已跃跃欲试。
实际上,娃哈哈早在1994年就曾涉足酒业,只不过是白酒。1994年12月,涪陵娃哈哈有限公司关帝酒厂成立,当时娃哈哈对关帝酒投入几百万进行宣传,大街小巷到处都是关帝酒的广告,但最终并未在市场上打响。
然而,娃哈哈并未就此止步。2013年,娃哈哈投资了150亿与茅台镇金酱酒业合作成立茅台镇领酱国酒业公司,这在当时是拿出娃哈哈在巅峰收入的1/5杀入白酒行业。但在突然遭受到白酒塑化剂的风波来袭后,没坚持4年的娃哈哈被淘汰出局。
但对于白酒板块的布局,娃哈哈可谓坚定不移,之后又推出了“宗帅家酒”,定位也是高端酒业,只不过市场反响依旧平平。

你期待娃哈哈的啤酒吗?对此,你怎么看?
———— / END / ————
本文综合自互联网;
本文仅供学习交流,版权归原作者所有,如涉及转载侵权问题,请联系小编微信(ZZRZSCQ),我们将第一时间处理。

往期精彩回顾



